
오늘은 저번 시간에 이어서 건축 분야에서 매우 중요한 주제인 구조용 강철과 그 접합 방법에 대해 알아보겠습니다. 건축사 시험을 준비하시는 분들이나 건축에 관심 있는 분들께 유용한 정보가 될 것입니다.
건축법과 설계 분야에서 구조용 강철은 핵심적인 재료입니다. 주조 강철, 냉간 가공 강철, 오픈웹 강철 조이스트 등 다양한 형태의 강철이 건축물의 구조와 디자인에 활용됩니다.
이번 글에 포함된 건축 전문 용어:
구조용 강철 (Structural Steel):
구조용 강철은 건물의 뼈대를 이루는 주요 재료입니다. 이는 높은 강도와 내구성을 가지고 있어 건물의 하중을 지지하는 데 사용됩니다.
주조 강철 (Cast Steel):
주조 강철은 액체 상태의 강철을 틀에 부어 만든 강철입니다. 복잡한 형태를 만들 수 있어 특수한 부품 제작에 유용합니다.
냉간 가공 강철 (Cold-Worked Steel):
냉간 가공 강철은 상온에서 압력을 가해 모양을 만드는 강철입니다. 이 과정을 통해 강철의 강도가 높아집니다.
오픈웹 강철 조이스트 (Open-Web Steel Joists):
이는 삼각형 모양의 강철 구조물로, 바닥이나 지붕을 지지하는 데 사용됩니다. 가볍고 강하며 긴 거리를 지지할 수 있습니다.
리벳 (Rivets):
리벳은 금속 조각들을 연결하는 데 사용되는 금속 핀입니다. 현대에는 거의 사용되지 않지만, 과거에는 많이 사용되었습니다.
볼트 (Bolts):
볼트는 나사가 있는 금속 핀으로, 너트와 함께 사용되어 강철 부품들을 연결합니다. 고강도 볼트는 현대 건축에서 매우 중요합니다.
용접 (Welding):
용접은 열을 이용해 금속 조각들을 녹여 붙이는 과정입니다. 아크 용접과 저항 용접이 주로 사용됩니다.
아크 용접 (Arc Welding):
전기 아크를 이용해 금속을 녹이고 연결하는 용접 방법입니다. 건축 현장에서 많이 사용됩니다.
저항 용접 (Resistance Welding):
전기 저항을 이용해 열을 발생시켜 금속을 연결하는 용접 방법입니다.
와이드 플랜지 형강 (Wide Flange Beam):
H자 모양의 강철 보로, 건물의 주요 구조 요소로 사용됩니다.
중공 구조용 단면 (Hollow Structural Sections, HSS):
속이 빈 사각형, 원형 또는 직사각형 모양의 강철 부재입니다. 기둥이나 트러스 부재로 많이 사용됩니다.
트러스 (Truss):
삼각형 구조를 이용해 만든 구조물로, 긴 거리를 지지하는 데 효과적입니다.
강철 골조 구조 (Steel Frame Construction):
건물의 주요 구조를 강철로 만드는 건축 방식입니다. 높은 강도와 유연성을 제공합니다.
강철 골조 구조 (Steel Frame Construction)
주조 강철 (Cast Steel)
구조용 강철의 대부분은 압연 형태로 생산되지만, 주조 강철 형태로도 제작될 수 있습니다. 주조 강철은 용융 상태의 강철을 직접 주형에 부어 식히는 방식으로 만들어집니다. 주조 강철은 압연 강철에 비해 무게당 비용이 더 높지만, 다음과 같은 장점이 있습니다:
소량 생산이 가능하여 특정 부품의 고유한 요구사항에 맞는 특수 강철 합금을 경제적으로 사용할 수 있습니다.
연속적인 압연 공정이 아닌 개별 주형에서 생산되므로, 불균일한 단면을 가질 수 있고 곡선이나 복잡한 형상을 쉽게 만들 수 있으며, 부품의 특정 요구사항에 맞게 형상을 정밀하게 조정할 수 있습니다.
주조 강철은 특히 강철 구조물의 맞춤형 연결부를 제작하는 데 적합하며, 기존의 압연 강철로 제작된 것보다 더 강하고 가벼우며 미적으로 우수한 연결부를 만들 수 있습니다.
냉간 가공 강철 (Cold-Worked Steel)
강철은 냉간 가공 또는 냉간 성형(압연 또는 굽힘)을 통해 상온에서 가공될 수 있습니다. 냉간 가공은 강철의 결정 구조를 재배열하여 강도를 크게 높입니다. 이 과정을 통해 다양한 제품이 생산됩니다.
경량 강판: C자 형태의 단면으로 성형되어 대형 건물의 칸막이와 외벽, 소형 건물의 바닥 구조를 위한 단스팬 골조 부재로 사용됩니다.
골판: 강판 원자재를 주름진 형태로 압연하여 강철 골조 구조물의 바닥 및 지붕 데크로 활용됩니다 (그림 11.59 - 11.64 참조).



중공 구조용 단면 (HSS, Hollow Structural Sections): 더 두꺼운 판재나 후판을 냉간 성형하여 정사각형, 직사각형, 원형, 타원형의 중공 형상으로 만든 후 길이 방향으로 용접하여 제작합니다 (그림 11.11, 11.14, 11.84 참조). 구조용 튜빙이라고도 불리며, 주로 기둥이나 용접 강철 트러스, 공간 트러스의 부재로 사용됩니다. 중공 형상은 비틀림 응력이나 압축 하중과 관련된 좌굴에 특히 적합합니다.



일반적인 와이드 플랜지 형강은 크기가 너무 커서 냉간 압연이 어렵지만, 냉간 압연은 소형 단면의 강봉과 오픈웹 조이스트용 강철 부품을 생산하는 데 사용되며, 이 경우 높은 강도를 효과적으로 활용할 수 있습니다. 또한 강철은 와이어 로프, 교량 케이블, 콘크리트 프리스트레싱 스트랜드에 사용되는 초고강도 와이어를 생산하기 위해 다이를 통해 냉간 인발됩니다.
오픈웹 강철 조이스트 (Open-Web Steel Joists)
열간 및 냉간 압연 형강으로 제작되는 다양한 구조용 강철 제품 중 가장 일반적인 것은 오픈웹 강철 조이스트(OWSJ)입니다. 이는 바닥과 지붕 데크를 지지하기 위해 좁은 간격으로 배열되어 사용되는 대량 생산된 트러스입니다 (그림 11.14 참조).

Steel Joist Institute (SJI) 규격에 따르면, 오픈웹 조이스트는 세 가지 시리즈로 생산됩니다:
K 시리즈 조이스트:
최대 60피트(18m) 스팬까지 사용 가능
깊이 범위: 8~30인치(200-760mm)
LH 시리즈 조이스트 (Longspan):
최대 96피트(29m) 스팬까지 사용 가능
깊이 범위: 18~48인치(460-1220mm)
DLH 시리즈 (Deep Longspan):
깊이 범위: 52~72인치(1320-1830mm)
최대 144피트(44m) 스팬까지 사용 가능
대부분의 건물에서는 K 시리즈 조이스트를 사용하며, 일반적으로 2피트(600mm) 미만의 깊이로 최대 40피트(13m)의 스팬을 달성합니다. 조이스트 간 간격은 보통 2~10피트(0.6-3m)로, 적용되는 하중의 크기와 데킹의 스팬 능력에 따라 달라집니다.
일부 조이스트 제조업체는 SJI 규격보다 더 긴 스팬이 가능한 독자적인 오픈웹 강철 조이스트 유형을 생산하기도 합니다.
조이스트 거더(Joist girders)는 무거운 하중, 특히 강철 조이스트 베이를 지지하도록 설계된 조립식 강철 트러스입니다 (그림 11.14 참조). 깊이 범위는 20~72인치(500-1800mm)입니다. 이들은 와이드 플랜지 보와 거더 대신 지붕 및 바닥 구조에 사용될 수 있으며, 특히 더 큰 깊이가 문제가 되지 않는 경우에 적합합니다. 오픈웹 조이스트와 조이스트 거더는 항상 고강도 강철로 제작됩니다.
강철 부재의 접합
강철 형강은 세 가지 체결 기술인 리벳, 볼트, 용접 또는 이들의 조합을 통해 건물 골조로 접합될 수 있습니다. 각 방식에 대해 자세히 살펴보겠습니다.
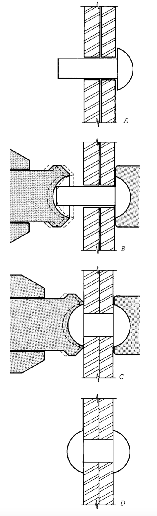
리벳 (Rivets)
리벳은 원통형 몸체와 성형된 머리로 구성된 강철 체결재입니다. 리벳 시공 과정은 다음과 같습니다:
- 리벳을 단조에서 백열 상태로 가열합니다.
- 접합할 부재들의 구멍에 삽입합니다.
- 공압 해머를 사용해 뜨거운 상태에서 작업하여 첫 번째 머리의 반대쪽에 두 번째 머리를 형성합니다 (그림 11.15 참조).


- 리벳이 식으면서 수축하여 접합된 부재들을 조이고 밀착된 이음을 형성합니다.
리벳 접합은 수십 년 동안 강철 골조 건물에서 주된 체결 기술이었습니다. 그러나 현대 건설에서는 노동 집약도가 낮은 볼팅과 용접 기술로 완전히 대체되었습니다.
볼트 (Bolts)
강철 골조 건설에 사용되는 볼트는 크게 두 종류로 나눌 수 있습니다:
- 고강도 볼트 (ASTM A325 및 A490):
- 제조 과정에서 열처리를 통해 더 높은 강도를 얻습니다.
- 현대 강철 골조 건설에서 구조적 연결에 거의 독점적으로 사용됩니다.
- 저강도 탄소강 볼트 (ASTM A307):
- 비마감 볼트 또는 일반 볼트라고도 불립니다.
- 주로 부차적인 골조 요소의 체결이나 임시 연결에 제한적으로 사용됩니다.
볼트 연결의 강도는 볼트 설치 방식에 따라 달라집니다:
지압형 연결 (Bearing-type connection):
- 볼트를 꽉 조인 상태로만 설치하면 됩니다.
- 연결된 부재 사이의 움직임은 볼트 구멍의 측면이 볼트 몸체에 지압하여 저항합니다.
미끄럼 임계 연결 (Slip-critical connection) 또는 마찰형 연결:
- 볼트를 설치 시 상당한 수준으로 예비 하중을 가합니다(조입니다).
- 강철 부재의 인접면(접촉면) 사이의 마찰이 부재 간 움직임을 저항합니다.
정상적인 하중 조건에서 지압형 연결의 볼트는 주로 전단력을 받는 반면, 미끄럼 임계 연결의 볼트는 인장력을 받습니다. 지압형 연결은 처음 하중을 받을 때 볼트 구멍 측면이 볼트 몸체에 완전히 지압할 때까지 약간의 미끄러짐이 발생합니다. 반면, 미끄럼 임계 연결은 초기 미끄러짐이 거의 없이 설계 용량에 도달합니다.
이러한 이유로 지압형 연결에서 발생할 수 있는 작은 정렬 변화가 구조물 성능에 해로울 수 있는 경우에는 미끄럼 임계 연결만 사용됩니다. 예를 들어, 고층 건물의 기둥 이음과 보-기둥 연결, 그리고 하중 역전이 발생하는 연결부는 반드시 미끄럼 임계 연결로 설계해야 합니다.
일반적인 연결에서 볼트는 볼트 직경보다 1/16인치(2mm) 더 큰 구멍에 삽입됩니다. 다양한 요인에 따라 경화 강철 와셔를 체결재의 한쪽 또는 양쪽 끝에 삽입할 수 있습니다. 와셔는 다음과 같은 경우에 필요합니다:
슬롯 구멍이나 과대 구멍을 사용할 때, 볼트 머리와 너트가 연결된 부재 표면과 충분히 접촉하도록 보장합니다.
예비 하중을 가한 볼트 설치 시, 연결된 부재 표면의 손상(예: 찢김)을 방지합니다.
많은 볼트 장력 확인 방법에서 일관된 장력 결과를 보장하기 위해 볼트의 적어도 한쪽 끝에 와셔가 필요합니다.
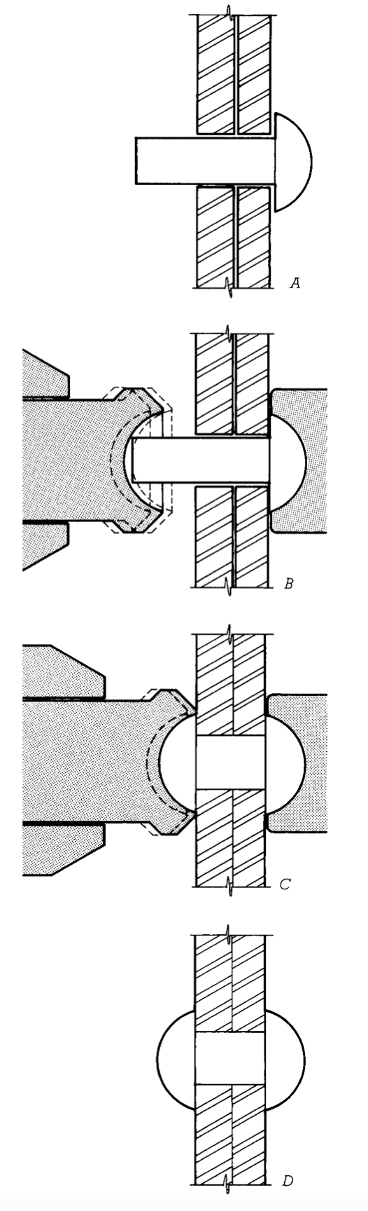
볼트는 주로 공압식 또는 전기식 임팩트 렌치를 사용하여 조입니다 (그림 11.16 참조).

지압형 연결에서는 볼트의 장력이 크게 중요하지 않습니다. 그러나 미끄럼 임계 연결에서는 볼트를 최소한 극한 인장 강도의 70% 이상으로 확실하게 조여야 합니다. 미끄럼 임계 연결 조립 시 주요 문제는 각 볼트에서 필요한 장력이 달성되었는지 확인하는 것입니다. 이를 위해 여러 가지 방법이 사용됩니다:
너트 회전법 (Turn-of-nut method):
- 각 볼트를 일단 꽉 조인 후, 추가로 지정된 만큼 더 회전시킵니다.
- 볼트 길이, 합금, 기타 요인에 따라 1/3 회전에서 1회전까지 추가 조임이 필요할 수 있습니다.
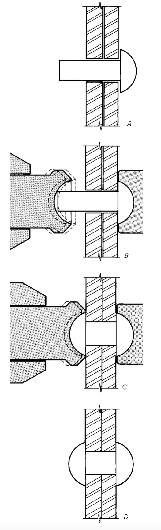
하중 지시 와셔 또는 직접 장력 지시기 (DTI, Direct Tension Indicator) 사용:
- 볼트 머리나 너트 아래에 특수 와셔를 배치합니다.
- 볼트를 조일수록 와셔의 돌출부가 볼트 장력에 비례하여 점진적으로 평평해집니다 (그림 11.17 참조).

- 검사 시 필러 게이지를 삽입하여 와셔가 충분히 평평해졌는지 확인합니다.
일부 제조업체는 검사를 더 쉽게 하기 위해 와셔에 작은 염료 캡슐을 부착하여, 돌출부가 충분히 평평해지면 눈에 잘 띄는 염료가 와셔 표면으로 분출되도록 합니다.
보정 렌치법 (Calibrated wrench method):
- 덜 자주 사용되는 방법입니다.
- 특수 토크 제어 렌치를 사용하여 볼트를 조입니다.
- 렌치의 토크 설정은 설치 중인 특정 크기와 유형의 체결재에 맞게 주의 깊게 보정되어 필요한 볼트 장력을 달성합니다.
- 볼트의 회전 끝 아래에 와셔를 사용하여 마찰을 최소화하고 적용된 조임력과 볼트에서 달성된 장력 사이의 일관된 관계를 보장합니다.
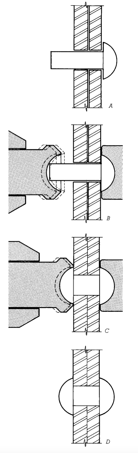
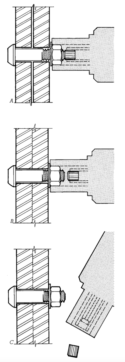
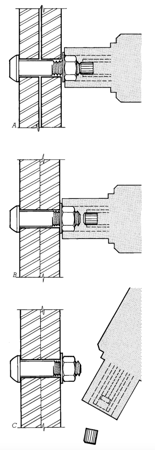
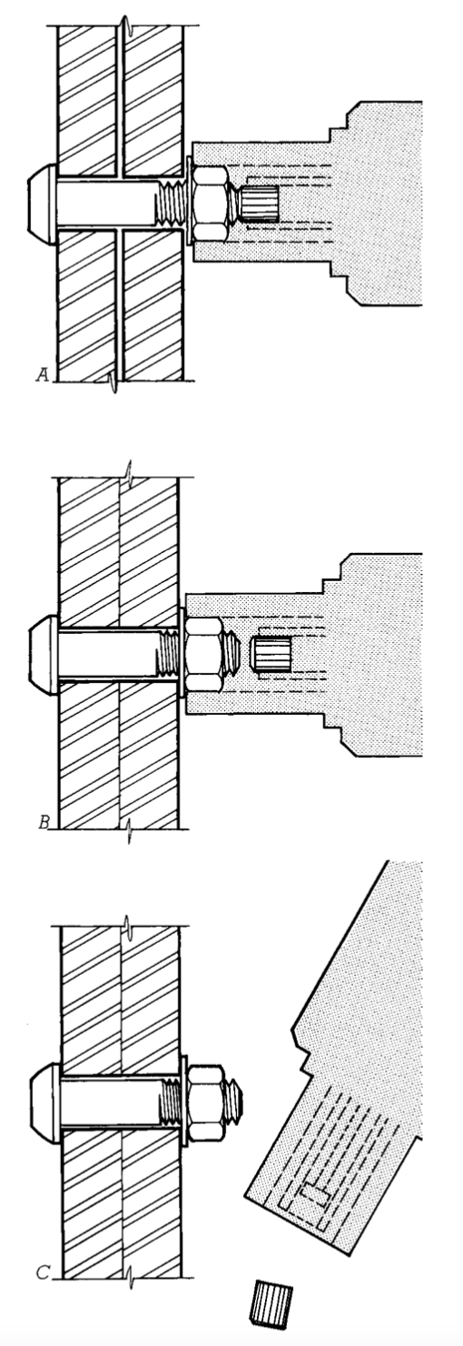
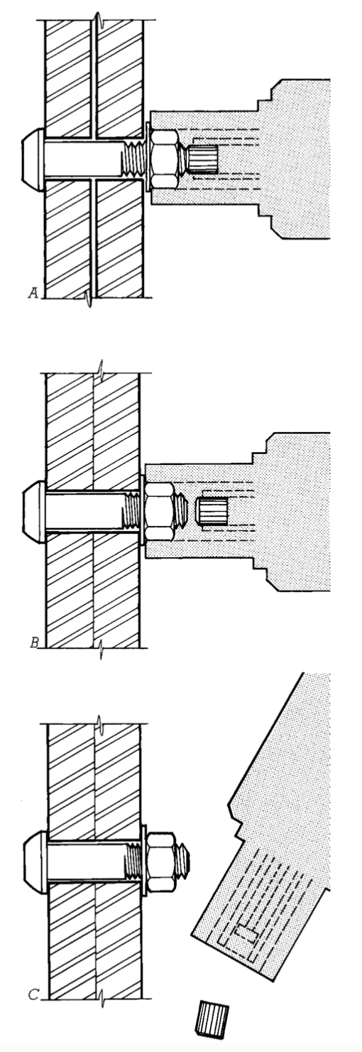
장력 제어 볼트 (Tension control bolts) 사용:
- 볼트 몸체의 나사산 부분을 넘어 돌출된 스플라인 끝이 있습니다 (그림 11.18 참조).

- 특수 전동 전단 렌치 (그림 11.19 참조)를 사용하여 너트와 스플라인 끝을 동시에 잡고 서로 반대 방향으로 회전시킵니다.


- 스플라인 끝은 필요한 토크에 도달하면 비틀어져 떨어지도록 설계되어 있습니다 (그림 11.20 참조).


- 설치된 볼트의 적절한 장력 확인은 스플라인이 없는지 육안으로 확인하는 간단한 작업이 됩니다.
- 이 체결재의 또 다른 장점은 한 명의 작업자만으로 설치할 수 있다는 것입니다. 반면 기존 볼트는 조임 중 볼트 조립체의 다른 쪽 끝이 회전하는 것을 방지하기 위해 두 번째 작업자가 렌치로 잡고 있어야 합니다.
록핀 및 칼라 체결재 또는 스웨지 볼트 (Lock pin and collar fastener or swedge bolt):
- 고강도 볼트의 대안으로 사용됩니다.
- 환형 링이 있는 볼트와 유사한 강철 핀으로, 기존 너트 대신 강철 칼라를 사용하여 핀을 고정합니다.
- 특수 전동 공구를 사용하여 핀을 높은 장력 상태로 유지하면서 칼라를 그 끝 주위로 냉간 성형(스웨징, 크림핑과 유사한 작용)하여 연결을 완성합니다.
- 설치 과정이 완료되면 록핀의 꼬리 부분이 부러져 체결재에 필요한 장력이 달성되었음을 시각적으로 확인할 수 있습니다.
- 장력 제어 볼트와 마찬가지로 스웨지 볼트도 한 명의 작업자가 설치할 수 있습니다.
이러한 다양한 볼트 체결 및 장력 확인 방법은 구조물의 안전성과 성능을 보장하는 데 중요한 역할을 합니다. 각 방법은 특정 상황과 요구 사항에 따라 선택되며, 구조 엔지니어와 시공자는 프로젝트의 특성에 가장 적합한 방법을 선택합니다.
용접 (Welding)
용접은 강철 부재를 접합하는 또 다른 주요 방법입니다. 용접은 두 개 이상의 금속 부재를 열과 압력을 이용해 융합시키는 과정입니다. 구조용 강철 용접에는 주로 다음과 같은 두 가지 방법이 사용됩니다:
아크 용접 (Arc welding):
- 전극과 용접할 금속 사이에 전기 아크를 발생시켜 열을 생성합니다.
- 이 열로 인해 모재(용접될 강철 부재)의 표면이 녹고, 동시에 전극 물질도 녹아 용융 금속 풀을 형성합니다.
- 아크가 용접선을 따라 이동하면서 용융 금속이 냉각되어 고체화되고, 두 부재를 단단히 접합시킵니다.
저항 용접 (Resistance welding):
- 접합할 두 금속 부재 사이로 강한 전류를 통과시킵니다.
- 접촉 지점의 전기 저항으로 인해 열이 발생하여 금속이 녹습니다.
- 동시에 압력을 가하여 용융된 금속을 함께 누릅니다.
- 전류가 차단되면 용융 금속이 냉각되어 고체화되고, 두 부재가 접합됩니다.
구조용 강철 작업에서는 아크 용접이 더 일반적으로 사용됩니다. 아크 용접에는 여러 가지 변형이 있지만, 가장 흔히 사용되는 두 가지 방법은 다음과 같습니다:
피복 아크 용접 (Shielded metal arc welding, SMAW):
- 일명 '스틱 용접'으로도 알려져 있습니다.
- 소모성 전극을 사용하며, 이 전극은 용융 금속을 대기로부터 보호하는 플럭스로 코팅되어 있습니다 (그림 11.21 참조).

- 간단하고 휴대가 용이하여 현장 용접에 자주 사용됩니다.
가스 금속 아크 용접 (Gas metal arc welding, GMAW):
- 일명 'MIG 용접'으로도 알려져 있습니다.
- 연속적으로 공급되는 전극 와이어를 사용합니다.
- 불활성 가스(주로 아르곤이나 이산화탄소)로 용융 금속을 보호합니다 (그림 11.22 참조).

- 더 빠르고 깔끔한 용접이 가능하여 공장에서 자주 사용됩니다.
용접의 품질은 용접 기술자의 숙련도에 크게 의존합니다. 따라서 대부분의 건설 프로젝트에서는 용접 기술자가 자격을 갖추고 있음을 증명하는 인증서를 요구합니다. 또한, 완성된 용접의 품질을 확인하기 위해 다양한 검사 방법이 사용됩니다:

육안 검사 (Visual inspection):
- 가장 기본적이고 일반적인 방법입니다.
- 용접부의 외관, 크기, 형태를 검사합니다.
자분 탐상 검사 (Magnetic particle inspection):
- 용접부 표면과 표면 근처의 결함을 탐지합니다.
- 강자성 물질에만 적용 가능합니다.
액체 침투 탐상 검사 (Liquid penetrant inspection):
- 표면 결함을 탐지합니다.
- 비강자성 물질에도 사용 가능합니다.
초음파 탐상 검사 (Ultrasonic inspection):
- 용접부 내부의 결함을 탐지합니다.
- 비파괴적이며 정확도가 높습니다.
방사선 투과 검사 (Radiographic inspection):
- X선이나 감마선을 사용하여 용접부 내부의 결함을 탐지합니다.
- 매우 정확하지만 비용이 높고 안전상의 주의가 필요합니다.
용접은 강철 구조물의 제작과 조립에 있어 매우 중요한 기술입니다. 적절히 수행된 용접은 매우 강하고 신뢰할 수 있는 접합을 제공하며, 복잡한 형상의 구조물을 만들 수 있게 해줍니다. 그러나 용접 품질 관리와 검사가 중요하며, 이는 구조물의 안전성과 내구성을 보장하는 데 필수적입니다.
이처럼 구조용 강철과 그 접합 기술은 현대 건축의 근간을 이루는 중요한 요소입니다. 건축사나 설계자로서 이 분야에 대한 깊이 있는 이해는 안전하고 아름다우며 기능적인 건축물을 만드는 데 필수적입니다.
강철 구조는 단순히 건물의 뼈대를 만드는 데 그치지 않습니다. 이는 건축가들이 더 혁신적이고 친환경적인 디자인을 실현할 수 있게 해주는 도구입니다. 예를 들어, 강철의 높은 강도-중량비는 더 가볍고 에너지 효율적인 건물을 만들 수 있게 해줍니다. 또한, 적절히 설계된 강철 골조는 지진 에너지를 효과적으로 흡수하고 분산시켜, 건물의 내진 성능을 향상시킵니다.
구조 설계에서 강철의 활용은 기술적인 측면뿐만 아니라 미학적 측면에서도 중요합니다. 노출된 강철 구조는 현대 건축의 상징적인 요소가 되어, 인테리어 디자인에도 큰 영향을 미치고 있습니다.
마지막으로, 강철 구조의 설계와 시공은 건축사의 전문성을 보여주는 중요한 영역입니다. 자격증 시험에서도 이 부분은 중요하게 다루어지므로, 관련 지식을 꼼꼼히 학습하는 것이 필요합니다. 앞으로도 계속해서 발전하는 강철 기술과 그 응용에 주목해야 할 것입니다.
이번 포스팅에 다룬 내용에 대한 퀴즈: ARE 5.0 시험 준비
오픈웹 강철 조이스트(Open-Web Steel Joists)의 주요 장점은 무엇인가?
a) 높은 내화성
b) 경량 및 긴 스팬 지지 능력
c) 소음 차단 효과
d) 열 절연 성능
미끄럼 임계 연결(Slip-critical connection)에서 볼트의 적절한 장력을 확인하는 방법이 아닌 것은?
a) 너트 회전법(Turn-of-nut method)
b) 직접 장력 지시기(DTI) 사용
c) 초음파 검사
d) 장력 제어 볼트 사용
주조 강철(Cast Steel)의 특징으로 가장 적절한 것은?
a) 대량 생산에 적합하다
b) 복잡한 형상을 쉽게 만들 수 있다
c) 압연 강철보다 비용이 저렴하다
d) 냉간 가공이 용이하다
아크 용접(Arc welding)의 품질을 검사하는 방법 중, 용접부 내부의 결함을 비파괴적으로 탐지하는 데 가장 적합한 방법은?
a) 육안 검사
b) 자분 탐상 검사
c) 초음파 탐상 검사
d) 액체 침투 탐상 검사
중공 구조용 단면(Hollow Structural Sections, HSS)이 주로 사용되는 용도는?
a) 바닥 데크
b) 기둥 및 트러스 부재
c) 외벽 패널
d) 지붕 덮개
정답 및 보충 설명:
정답: b) 경량 및 긴 스팬 지지 능력
설명: 오픈웹 강철 조이스트는 가볍고 강한 구조로, 긴 거리를 지지할 수 있어 넓은 공간을 만드는 데 효과적입니다. 이는 창고, 체육관, 주차장 등의 건축에 많이 사용됩니다.
정답: c) 초음파 검사
설명: 미끄럼 임계 연결에서 볼트의 장력을 확인하는 일반적인 방법은 너트 회전법, DTI 사용, 장력 제어 볼트 등입니다. 초음파 검사는 주로 용접부 검사에 사용되며, 볼트 장력 확인에는 일반적으로 사용되지 않습니다.
정답: b) 복잡한 형상을 쉽게 만들 수 있다
설명: 주조 강철은 액체 상태의 강철을 주형에 부어 만들기 때문에, 복잡한 형상을 쉽게 만들 수 있습니다. 이는 특수한 연결부나 부품 제작에 유용합니다.
정답: c) 초음파 탐상 검사
설명: 초음파 탐상 검사는 용접부 내부의 결함을 비파괴적으로 탐지할 수 있는 가장 효과적인 방법 중 하나입니다. 이 방법은 정확도가 높고, 방사선 투과 검사와 달리 안전상의 문제가 적습니다.
정답: b) 기둥 및 트러스 부재
설명: 중공 구조용 단면(HSS)은 주로 기둥이나 트러스의 부재로 사용됩니다. 이는 압축력에 강하고, 비틀림에 대한 저항력이 뛰어나기 때문입니다. 또한, 미적으로도 깔끔한 외관을 제공합니다.
'한글[KOREAN] > 건축 이야기' 카테고리의 다른 글
| ARE 5.0 PcM: 건축사 시험 준비 과정, 건축 사무소 운영 (Firm Management) Part2 (0) | 2024.09.21 |
|---|---|
| ARE 5.0 PcM: 건축사 시험 준비 과정, 건축 사무소 운영 (Firm Management) (0) | 2024.09.21 |
| 건축가를 위한 클린룸 설계 가이드, 클린룸과 에어락의 정의와 중요성 (0) | 2024.09.20 |
| ARE 5.0 건축사 시험 대비 강구조 설계 핵심 정리: 초보자도 쉽게 이해하는 부재 크기 추정법과 구조 시스템 계획 (0) | 2024.09.19 |
| ARE 5.0 건축사 시험 준비 시작하기: 건축사가 알아야 할 지하 구조물 설계의 핵심 - 방수, 배수, 기초 공학의 이론과 실제 (0) | 2024.09.18 |
댓글